Zum Hauptinhalt springen Zur Suche springen Zur Hauptnavigation springen

Rettungsleiter 3-stufig

Produktinformationen "Rettungsleiter 3-stufig"

Sicherheitsleiter in verschlossener Box aus robustem Kunststoff.

Die Box wird knapp über der Wasserlinie in den Rumpf eingebaut. Eine über Bord gegangene Person kann den Deckel der Box leicht öffnen und die Leiter herausziehen.

Die Notleiter besteht aus Nylon, hat 3 Stufen und einen Griff zum Festhalten. Die Trittstufen bestehen aus robustem Kunststoff.

Leiter:
Länge: 110cm
Breite: 13,5cm

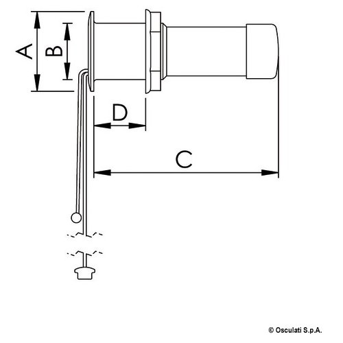
Einbaubox:
Flanschdurchmesser A: 8cm
Einbaudurchmesser B: 5,8cm
Einbautiefe C: 18,5cm
Gewindelänge D: 5,2cm

Downloads und Medien

Informationen zur Produktsicherheit (GPSR):

Produktsicherheit:
Herstellername: Robert Lindemann KG
Adresse: Wendenstr. 455, 20537 Hamburg, Deutschland
Webseite: www.lindemann-kg.de
Email: info@lindemann-kg.de

0 von 0 Bewertungen

Durchschnittliche Bewertung von 0 von 5 Sternen

Bewerten Sie dieses Produkt!

Teilen Sie Ihre Erfahrungen mit anderen Kunden.